PRODUCTS CENTER
了解更多詳細信息,請緻電
或給我們留言
在線留言
一、概述:該系統有監控主機、備用機、信号避雷器、電源…
更多詳情 +
一、概述:該系統是集計算機軟硬件、信息采集處理、無線…
更多詳情 +
一、概述該裝置是一種通道阻擋裝置(以下簡稱“裝置”)…
更多詳情 +
一、概述:該系統的設計、制造按照企業标準進行,在井下…
更多詳情 +
一、概述該系統的設計、制造按照Q/JMKJ 1638-2023等相關…
更多詳情 +
一、概述該裝置的設計,制造按照 Q/JMKJ 1235-2020 等相…
更多詳情 +
一、概 述:該抑爆裝置安裝于有氣體和粉塵爆炸危險的場…
更多詳情 +
一、概 述:該裝置安裝于有氣體和粉塵爆炸危險的場所,…
更多詳情 +
一、概述:城市綜合管廊是指将電力、通信、燃氣、給排水…
更多詳情 +
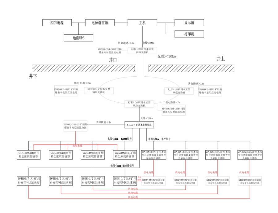
一、概述在煤炭生産過程中,幾乎所有的作業都可産生粉塵…
更多詳情 +
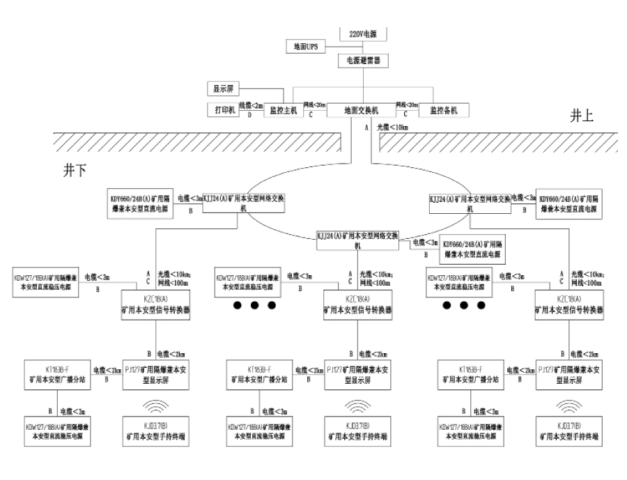
一、概述礦井發生重大災變事故後,如水災、火災、瓦斯、…
更多詳情 +
一、概述:該系統專業用于大、中、小各類煤礦自燃火災的…
更多詳情 +
一、概述該裝置的設計、制造完全符合國家的相關标準要求…
更多詳情 +
一、概述在現代礦山生産中,安全監測與數據分析技術裝備…
更多詳情 +
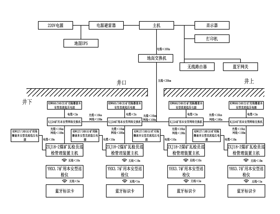
一、概述該裝置實現了讓瓦檢員按照提前設置好的路線及地…
更多詳情 +
一、概述該系統可用于有瓦斯、煤塵爆炸危險的煤礦井下,…
更多詳情 +
一、概述:智能視頻識别系統基于深度學習的視頻智能識别…
更多詳情 +
一、概述KXJ18型煤礦瓦檢員巡檢智能管控系統(以下簡稱…
更多詳情 +